Лючок

Лючок для замера
параметров воздуха

ПРЕИМУЩЕСТВА 

  • Обеспечение оперативного и удобного доступа к инспекционному отверстию.
  • Высокая герметичность.

       Cкачать раздел

Распечатать

Типоразмерный ряд

ПРИМЕНЕНИЕ


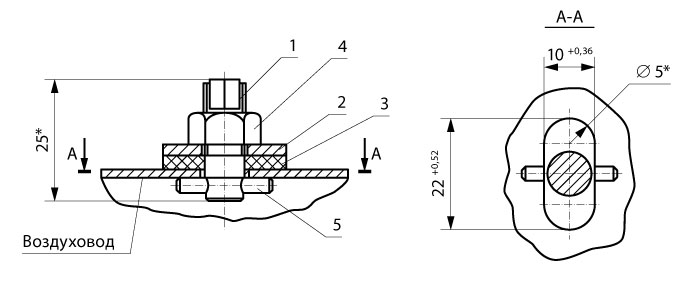
Лючок устанавливают на воздуховоде для замеров параметров потока воздуха.

МОНТАЖ


Штифт 5 пальца 1 заводится в паз воздуховода и поворачивается на 90°. Затягивается гайка 4, поджимая шайбой 2 прокладку 3.


Лючки - Лючок

ПРИМЕНЕНИЕЛючок устанавливают на воздуховоде для замеров параметров потока воздуха.МОНТАЖШтифт 5 пальца 1 заводится в паз воздуховода и поворачивается на 90°. Затягивается гайка 4, поджимая шайбой 2 прокладку 3.

Лючки - Лючок
0.00

Поддержка

Каталог Системы вентиляции

Получить наиболее подробную
информацию о продукции Вы всегда
можете в нашем каталоге.

Скачать

Единый прайс-лист

В нашем прайс-листе вы найдете
самые актуальные цены на всю
предлагаемую нами продукцию.

Скачать

Сертификаты на продукцию

Вся продукция завода полностью
сертифицирована и прошла все
необходимые испытания.

Перейти

Монтаж вентиляции
Аэродинамические испытания
Электрофизические измерения

Вентиляторы :: Воздуховоды :: Клапаны

+375 (29) 187-67-00

+375 (232) 53-54-55

часы работы: 9:00—18:00

Яндекс.Метрика